Tüm Ürünlerde Ücretsiz Kargo

İstanbul içi Elden Teslim

Garantili Teslimat

  • Tüm Ürünlerde Ücretsiz Kargo

  • 6 Ay Garanti ve Ömür Boyu Ücretsiz Destek

  • İst. Kapıda Ödeme İmkanı

  • 12 Aya Varan Taksit İmkanı

Apple, uydu bağlantısını artıran özel bir iPhone kılıfı üzerinde çalışıyor olabilir

Apple, uydu bağlantısını artıran özel bir iPhone kılıfı üzerinde çalışıyor olabilir

Tekno Muaz |

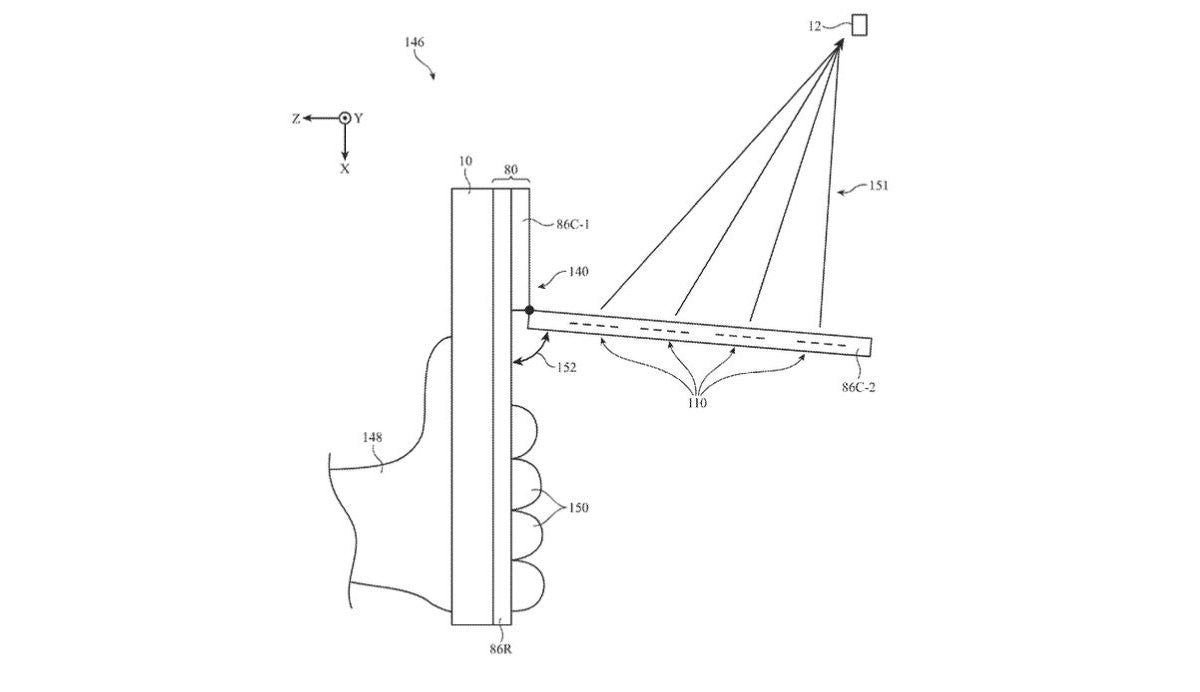
2024 yılında Apple, "Uydu İletişim Yeteneklerine Sahip Elektronik Cihaz ve Kılıf" için bir patent başvurusunda bulundu ve bu şimdi ortaya çıktı. Temelde, uydu bağlantısını artırabilen daha fazla ve daha iyi antenlere sahip bir kılıf.

Kılıf, iPhone'lar için yapılacak ancak görünüşe göre iPad'ler için de olacak. Aşağıdaki çizimde görebileceğiniz gibi, kılıf, daha iyi bir uydu sinyali almak için iç kısımdaki faz dizili anten grubunu gökyüzüne doğru yönlendiren açılabilir bir bölüme sahip olacak. Bu aynı zamanda telefonu dokunarak uydu sinyalini engellemeyecek, çünkü dokunmadığınız gerçek açılabilir bölümü, antenleri barındıran kısımdır.

Apple, uydu bağlantısını artıran özel bir iPhone kılıfı üzerinde çalışıyor olabilir

Bu tür bir anten dizisi ile, kılıf bir grup uyduya bağlanabilecektir. Kılıf, normal bir kılıf gibi işlev görecek, kullanıcı tarafından takılabilir ve çıkarılabilir olacak. Apple'ın patent başvurusunda, "çıkarılabilir kılıf aracılığıyla kablosuz veri iletebileceğini" veya NFC gibi çeşitli diğer seçenekleri düşündüğü belirtilmektedir.

Bu tür patent başvurularını hatırlamanın önemli bir noktası, Apple gibi şirketlerin genellikle gerçekten piyasaya sürülmeyen birçok ürün için bunları rutin olarak oluşturmasıdır. Bunlar daha çok 'konsept kanıtı' ve daha az 'gerçekte geliştirilen ürünler' niteliğindedir. Bunlar sonradan ileriye yönelik olabilir, ancak çoğu olmaz, bu yüzden bu oldukça ilginç görünse de, Apple'ın böyle bir şeyi hiçbir zaman piyasaya sürüp sürmeyeceğinden emin değiliz.

Via

Yorum yap

Not: Yorumlar yayınlanmadan önce onaylanmalıdır.